La ISO 4032 define las tuercas hexagonales más utilizadas en maquinaria y construcción industrial. Son un estándar universal por su facilidad de apriete, compatibilidad con la mayoría de tornillos métricos y su resistencia mecánica incluso en montajes sometidos a vibración, carga dinámica o desmontajes recurrentes.
Estas tuercas se utilizan en prácticamente cualquier sector: mecanizado, calderería, maquinaria agrícola, ferroviaria, moldes y utillajes. Su diseño sencillo y robusto garantiza un apriete fiable y constante.
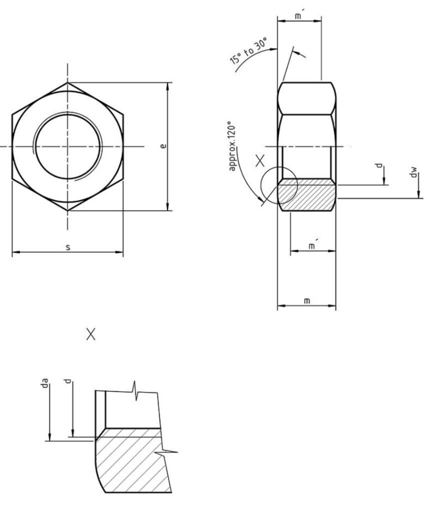
📐 Características principales
- Geometría: forma hexagonal para aplicar par de apriete con llave manual o automática.
- Rosca: métrica ISO, pasos finos y estándar.
- Altura: tuerca de altura normal, definida por la ISO (no es tipo baja ni alta).
- Compatibilidad: para tornillos ISO 4014, ISO 4017, ISO 4762, ISO 10642, entre otros.
- Marcaje: suele incluir grado y fabricante en la cara plana.
⚙️ Materiales habituales
- Acero al carbono 8 (clase 8)
- Acero aleado 10 (clase 10)
- Acero alta resistencia 12 (clase 12)
- Acero inoxidable A2 y A4
📏 Dimensiones (resumen orientativo)
| Métrica | Ancho llave (mm) | Altura (mm) |
|---|---|---|
| M6 | 10 | 5,2 |
| M8 | 13 | 6,8 |
| M10 | 17 | 8,4 |
| M12 | 19 | 10,8 |
| M16 | 24 | 13 |
| M20 | 30 | 16 |
(En el post final se puede añadir la tabla completa si la quieres.)



📌 Aplicaciones más comunes
- Ensambles estructurales
- Fijaciones de piezas mecanizadas
- Máquinas industriales y bancadas
- Sistemas sometidos a vibración
- Dispositivos de sujeción y utillajes
⭐ Ventajas
- Estándar internacional → repuestos garantizados
- Fácil montaje en cualquier entorno
- Alta resistencia mecánica
- Amplio rango de materiales y recubrimientos


Deja una respuesta