El tornillo ISO 10642 es un tornillo avellanado con hexágono interior diseñado para uniones en las que la cabeza debe quedar totalmente enrasada con la superficie de la pieza. Gracias a su geometría cónica, encaja en alojamientos avellanados y ofrece un acabado limpio, sin salientes y con una excelente transmisión del par mediante herramienta Allen. Es un elemento muy utilizado en mecanizado de precisión, maquinaria industrial y estructuras metálicas donde el espacio exterior es limitado.
Diseño y funcionamiento en uniones avellanadas
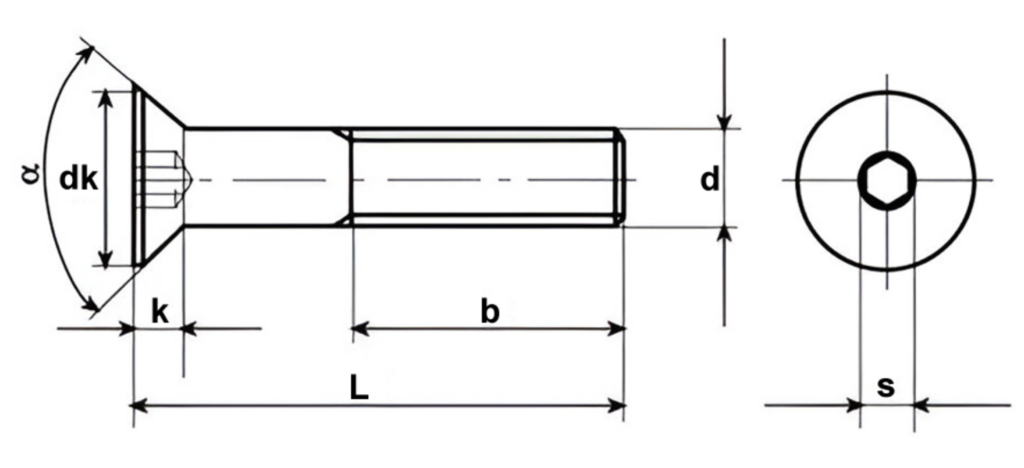
La forma cónica de la cabeza permite que el tornillo quede completamente oculto una vez instalado, lo que reduce interferencias con piezas móviles y mejora la estética del conjunto. El hexágono interior garantiza un apriete seguro incluso en alojamientos profundos o zonas con acceso reducido. Además, al quedar embutido, disminuye la posibilidad de enganches y protege la cabeza frente a impactos accidentales.
Las calidades más habituales incluyen 8.8 y 10.9, además de versiones en acero inoxidable indicadas para entornos con humedad o exposición química. Para aumentar la durabilidad, existen recubrimientos como pavonado, cincado o tratamientos anticorrosión específicos. Sus dimensiones están normalizadas para asegurar compatibilidad con avellanados estándar según diseño ISO.



Usos y ventajas dentro del sector industrial
Este tipo de tornillo se emplea en máquinas de precisión, carcasas metálicas, mecanismos con movimiento cercano, uniones de seguridad, guías lineales y sistemas donde la superficie exterior debe quedar libre de irregularidades. Su diseño contribuye a mejorar la seguridad del operario y la fiabilidad del montaje, ya que evita cabezas sobresalientes que puedan interferir con el funcionamiento del equipo.
En AREM-CNC utilizamos fijación normalizada en nuestros procesos de mecanizado CNC y en la gestión de materiales y certificados, asegurando trazabilidad y cumplimiento normativo. Para una referencia técnica general puedes consultar este recurso neutral:
https://en.wikipedia.org/wiki/Fastener


Deja una respuesta